中國粉體網訊 鈷粉由于其優良的物理、化學和機械性能,廣泛應用于硬質合金、石油化工催化劑、電子器件、特種工具、磁性材料、電池和貯氫合金電極等,并且在催化劑、磁性材料、吸波材料、陶瓷材料等領域的應用中表現出許多優異的性能。
硬質合金材料主要用作燃汽輪機的葉片、葉輪、導管、噴氣發動機、火箭發動機、導彈的部件和化工設備中各種高負荷的耐熱部件以及原子能工業的重要金屬材料。作為硬質合金材料的關鍵原料鈷粉,其性能決定了超硬合金材料的粘結性能、強度和韌性,對超硬合金材料的使用性能至關重要。
目前,硬質合金行業用鈷粉的費氏粒度在1.0~1.5μm,微觀形貌為枝狀,隨著硬質合金行業的發展,對鈷粉的物理性能如粒度、粒度分布、微觀形貌等提出了更高的要求,粒度要求越來越細(費氏粒度小于1.0μm),形貌要求為球形或類球形。為了制備與納米WC粉匹配使用的球形超細鈷粉,多元醇法、γ射線輻照法、微乳液法、高壓氫還原法、聯氨液相還原法等鈷粉制備新工藝不斷被開發出來。
高壓水霧法
水霧法應用較為廣泛,此方法是使用壓力為5~50 MP的高壓水流直接擊碎液體金屬或合金而制得粉體的一種物理制粉法。其工藝流程:啟動感應爐和高壓水霧化制粉裝置并將稱量好的鈷塊置入其中進行熔化,將熔化得到的金屬液倒入漏包爐經底部漏嘴流出,進入霧化裝置,此時環孔噴嘴的高壓水將其碎成無數細小液珠,小液珠經過冷凝,形成水、粉混合物并流入霧化筒體下方的穩流器中,制得濕粉,最后經過脫水、干燥處理得到納米鈷粉。

水霧法制備鈷粉的工藝流程圖
電解法
電解法制備金屬鈷粉的原理是利用電解鈷板做陽極,高度拋光的不銹鋼水套做陰極,電解液一般為氯化鈷或硫酸鈷水溶液。向電解槽中通入直流電,電解液發生電離,此時鈷離子聚集在陰極處并放電沉積,形成鈷粉,為了防止鈷粉發生團聚,通常向電解液中加入適量的表面活性劑。
高溫熱裂解法
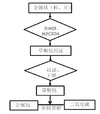
目前,在生產硬質合金用鈷粉工藝領域中,高溫熱裂解法是國際上較流行且相對成熟的方法。其基本原理是利用草酸鈷在隔絕空氣和高溫的條件下,能裂解成鈷粉和二氧化碳的性質制備金屬鈷粉;其工藝步驟主要是:首先采用純鹽酸溶液將高純的電解鈷片或鈷粒溶解成含有鈷離子的溶液,向溶液中加入用草酸或草酸氨,草酸根離子遇到鈷離子發生反應,生成白色沉淀物草酸鈷,再將草酸鈷干燥脫水,最后將草酸鈷置于隔絕空氣的密閉容器中裂解成鈷粉和二氧化碳。

密閉裂解制備鈷粉的工藝流程圖
此法制備的鈷粉純度高、粒度細小,形貌為球形或類球形,滿足硬質合金生產的需要,可以提升硬質合金產品的綜合性能。據報道,世界上提供硬質合金用鈷粉最大工廠之一的芬蘭Outokumpu Kokkolar廠較早使用此方法生產鈷粉,每年約生產300噸超細鈷粉用于硬質合金生產。隨著硬質合金行業的發展和高溫裂解法工藝的完善,后來比利時的Hoboken-overpelt廠,英國的MH-Carolmet公司,加拿大的Sherritt Golden公司均采用高溫裂解法生產硬質合金用鈷粉。
氧化鈷氫還原法
在制備硬質合金用鈷粉的領域中氧化鈷氫還原法的應用也非常廣泛。此方法主要是以氧化鈷(Co2O3、Co3O4和CoO)為原料,在400~600ºC下直接用氫氣還原得到鈷粉,氧化鈷氫還原法中還原溫度是制備高性能鈷粉的關鍵因素之一。

草酸鈷氫還原法
國內在制備匹配硬質合金用鈷粉的主要方法通常是草酸鈷氫還原法。此種方法的工藝流程簡便,在600~700℃下直接用氫氣還原草酸鈷制備鈷粉,利用草酸鈷氫還原法制備鈷粉,主要優勢是制工備藝簡單、容易操作、生產效率高,鈷粉的粒度分布窄、粒徑細小;不足之處表現于制備過程中需要消耗大量的氫氣,增加了生產成本,同時鈷粉的流動性和分散性較差,鈷粉形貌通常為樹枝狀或針狀。

多元醇還原法
多元醇還原法一般是以Co(OH)2為前驅體物,利用多元醇(如乙二醇、1.2丙二醇)為還原劑,其具體工藝流程是:首先將前驅體與多元醇在燒杯中混合,利用攪拌器將溶液攪拌均勻,然后將裝有混合溶液燒杯置于水浴加熱容器中,啟動加熱中裝置使前驅體邊加熱邊還原,于是得到還原產物金屬鈷粉。
γ射線輻照制備法
γ射線輻照法的基本原理是用γ射線輻照水溶液產生一種活潑且具有很強的還原能力的電子(eaq-),這種電子在室溫下可以使鈷離子還原成鈷單質,通過干燥處理后得到鈷粉。其工藝流程是:配制一定濃度的鈷溶液,先加入適量的異丙酮作為自由基清洗劑,然后加入適量的聚乙烯醇作為分散劑,通過滴入適量的醋酸(Hac)或NaOH溶液來調節溶液的PH值,再將配制好的溶液進行超聲脫氣處理,同時通入氮氣降低溶液中的氧含量,利用γ射線對溶液進行輻照,射線輻照用劑量率為70Gy/min的60Co,最后對產物進行收集。γ射線輻照制備金屬鈷粉的方法應用十分廣泛,得益于其制備條件容易控制、產品為納米級、粒徑分布均勻和不容易氧化。
微乳液法
微乳液是由水、油、表面活性劑和助表面活性劑,在微泡中經成核、聚結、團聚、熱處理組成澄清透明的、各向同性的熱力學體系,通過膠團顆粒間的碰撞、融合、分離和重組等過程,促使水核內的物質相互交換或傳遞,致使核內的發生化學反應而得到產物,然后產物在核內成核和長大。該工藝由于所需原料成本較高,反應時間、環境溫度和陳化時間等都對制備過程有著復雜的影響,導致難以實現大規模生產。
聯氨液相還原法
聯氨的液相還原法的原理是:利用具有較強還原能力的聯氨作為還原劑,在堿性溶液將Co2+還原成鈷單質。

超聲霧化熱分解法
超聲霧化熱分解法(ultrasonic spray pyrolysis)簡稱USP,是一種比較先進的制備納米粉的方法,已經被應用于制備納米金屬粉末、金屬合金粉及陶瓷材料等。該法也可以用于制備納米鈷粉。
參考資料:
吳家景.球形超細/納米鈷粉的制備工藝及機理.南昌大學
張宇奇等.高壓合成球形碳酸鈷粉以及超細球形鈷粉制備研究.南昌硬質合金有限責任公司
王崇國等.超細球形鈷粉制備.甘肅有色冶金職業技術學院
羅振勇等.金屬鈷粉的制備及應用.中南大學
注:圖片非商業用途,存在侵權告知刪除!



















