發明名稱:一種熔融石英粉研磨裝置
摘要
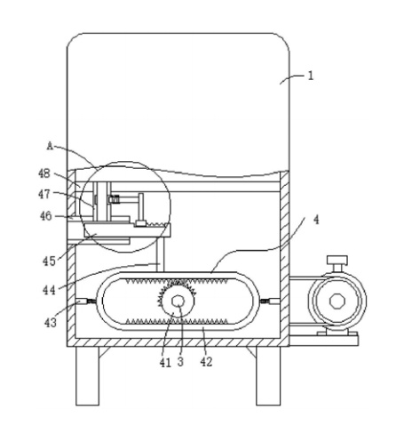
本發明涉及熔融石英加工領域,具體是一種熔融石英粉研磨裝置,包括豎直設置的支撐安裝筒,支撐安裝筒的右下角設置有出料孔,支撐安裝筒的內部中間位置內側水平設置有傳動安裝環,傳動安裝環上方的支撐安裝筒中間位置豎直設置有導料安裝筒,導料安裝筒的上端設置有錐面導料板,錐面導料板的邊緣固定在支撐安裝筒內,所述支撐安裝筒的上端中間位置設置有轉動安裝罩,錐面導料板上方的支撐安裝筒內對稱設置有轉動落料板,通過主動導流除塵,使得裝置內部導料順利,通過集中導料,控制間距的破碎,并通過同步升降控制研磨的精度,使得裝置的研磨加工適應性強,能夠顯著提升裝置的效率和質量。




1-多孔導流板;2-安裝罩;3-電控轉軸;4-落料板;5-復位轉軸;6-導料安裝筒;7-支撐安裝筒;8-液壓伸縮柱;9-轉動安裝環;10-弧邊錐面導料筒;11-出料孔;12-移動導料車;13-轉動破碎輥;14-驅動轉軸;15-錐面導料板;16-導流風機;17-安裝槽;18-驅動齒輪;19-導向轉動齒環;20環狀導向槽;21-錐面研磨板;22-落料孔;23-升降安裝環;24-升降導向槽;25-升降導向柱;26-同步升降柱
發明名稱:一種熔融石英浮選裝置
摘要
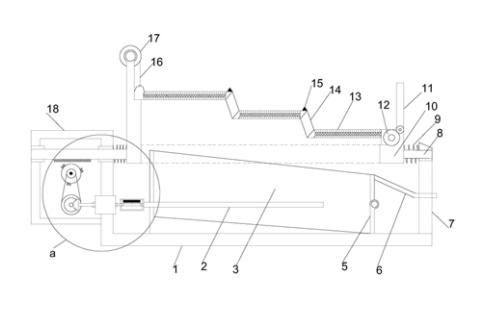
本發明涉及熔融石英生產領域,具體是一種熔融石英浮選裝置,包括水平設置的支撐安裝筒,支撐安裝筒的左端設置有傳動安裝罩,支撐安裝筒的正上方水平設置有L型晃動安裝架,支撐安裝筒的底部中間位置豎直設置有斜底安裝筒,斜底安裝筒右端正對的支撐安裝筒上設置有出料孔,所述L型晃動安裝架的右端通過支撐轉軸向左設置有三階梯轉動板,L型晃動安裝架的底部左右兩端均水平設置有晃動導向柱,通過多級篩分,首先去除干擾的大尺寸顆粒,再通過振動斜面浮選,提升浮選的質量和效率,且通過晃動加速篩選的進行,通過傾角的調節,進一步提升裝置的作業效率,同時導料高效穩定。
1-支撐安裝筒;2-振動傳動柱;3-斜底安裝筒; 5-出料閘門;6-浮選斜導料板;7-出料孔;8-導向柱;9-復位彈簧;10-L型晃動安裝架;11-轉動導料板;12-支撐轉軸;13-濾網;14-三階梯轉動板;15-限位塊;16-牽引繩;17-電控繞線輪;18-傳動安裝罩;

4-轉動振動輪;19-周期齒輪;20-導向齒條;21-傳動帶輪;22-傳動皮帶;23-主動帶輪;24-傳動錐齒輪;25-有驅動錐齒輪;26-驅動電機;27-振動安裝罩;
發明名稱:一種熔融石英硅微粉加工設備
摘要
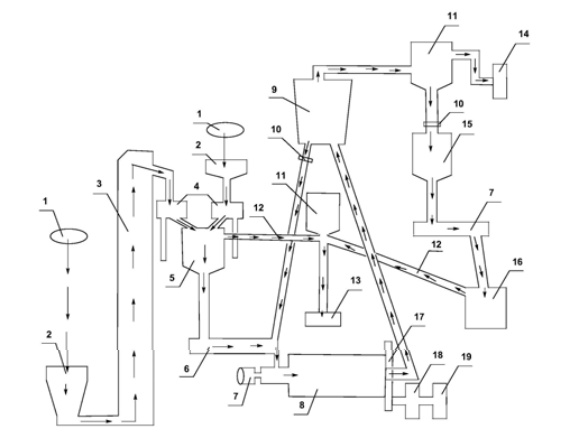
本發明涉及一種熔融石英硅微粉加工設備,在斗提機和原料倉之間連接磁選機,去除原料中含鐵廢料,廢料從下料口分出。磁選過的原料經皮帶秤進入球磨機,產品進入分級機,分級后合格產品通過除塵后進入成品倉,通過大螺旋、灌包機灌包。分級后不合格的副產物經蝶閥返回球磨機進行二次加工。在整個生產過程中,各個模塊之間通過環保除塵管道連接環保除塵器,收集到的粉塵有專人回收利用。本發明將磁選和除塵兩個模塊很好的融入生產設備中,整套裝置運行最多需要兩名工人操作即可,在生產過程中整個車間可以實現無粉塵操作,集約且環保,得到超純硅微粉。

1-行吊;2-投料口;3-斗提機;4-磁選機;5-原料倉;6-皮帶秤;7-螺旋;8-球磨機;9-分級機;10-蝶閥;11-環保除塵器;12-環保除塵管道;13-粉塵回收包;14-引風機;15-成品倉;16-灌包機;17-聯動軸;18-減速機;19-電機
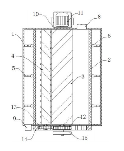
發明名稱:一種熔膜鑄造用熔融石英砂清洗裝置
摘要
本實用新型公開了一種熔膜鑄造用熔融石英砂清洗裝置,包括殼體,所述殼體中設有環形結構的篩網,所述篩網將殼體內部分為內空間和外空間,所述殼體連接有轉筒,所述轉筒的側面設有壓筒,所述壓筒和轉筒連接有傳動裝置,所述內空間中開設有進料口,所述外空間開設有出料口,所述傳動裝置包括機箱,所述機箱內設有電機,所述電機與轉筒過盈配合連接。本實用新型在電機的帶動下,篩網、轉筒和壓筒分別轉動,使得在壓筒和轉筒擠壓下,石英砂被二次加工,使其滿足尺寸條件后流出,并提高殼體內清洗液與石英砂的接觸面積,提高清洗效果,在彈簧彈力作用下會使得連桿上的滾珠敲打篩網,使得篩網上附著的固體顆粒脫落,提高了篩網的過濾效果。

1-殼體;2-篩網;3-轉筒;4-壓筒;5-連桿;6-滾珠;7-彈簧;8-進料口;9-出料口;10-機箱;11-電機;12-太陽輪;13-行星輪;14-內齒輪;15-支座;
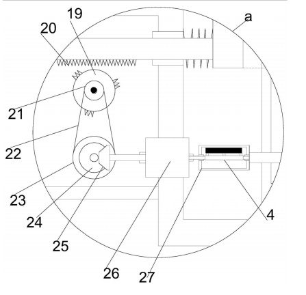
發明名稱:一種熔融石英設備用防堵裝置
摘要
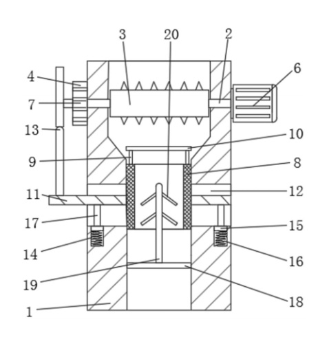
本實用新型公開了一種熔融石英設備用防堵裝置,包括設備外殼、驅動組件和轉動桿,轉動桿設置在設備外殼上,轉動桿與驅動組件轉動設置,且轉動桿轉動插設在設備外殼的前端上,轉動桿位于設備外殼內的一端上固定設置有轉盤,且轉盤的前端邊緣鉸接有鉸桿的一端,鉸桿的另一端鉸接在滑動管的外管上,且滑動管滑動設置在滑動桿上,滑動桿的下端固定設置在設備外殼的內底壁上;該實用新型中,通過增加了防堵桿,防堵桿的設置在驅動組件的帶動下,會使得防堵桿上下運動,通過防堵桿的上下運動達到疏通進料管的作用,從而達到防堵的效果,本實用新型,結構設計合理,在實際工作中,可以達到防堵的效果。




1-外殼;2-驅動組件;3-轉動桿;4-轉盤;5-鉸桿;6-滑動管;7-滑動桿;8-固定塊;9-防堵桿;10-下限位塊;11-攪拌爪;12-螺紋管;13-支撐桿;14-限位塊;15-進料管;
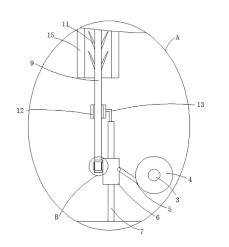
發明名稱:一種熔融石英用定量分撥裝置
摘要
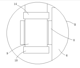
本實用新型公開了一種熔融石英用定量分撥裝置。本實用新型提供了一種熔融石英用定量分撥裝置,包括設備本體、傳動設備、轉動桿和定量控制裝置,傳動設備設置在設備本體上,轉動桿轉動設置在傳動設備上,定量控制裝置設置在轉動桿上,且定量控制裝置設置在設備本體內;本實用新型中,通過增加了推動板、出料管和卸料管的組合結構,熔融石英通過卸料管進入出料管中,由于推動板在出料管內循環式運動,因此通過該種循環運動,可以保證每次推出的熔融石英含量一致,同時增加了限位板,這樣可以保證通過卸料管進入出料管內的熔融石英每次的量一致,從而使得整個設備,在工作定量推動時,可以保證每次的量一致。

1-本體;2-傳動設備;3-轉動桿;4-定量控制裝置;41-缺齒輪;42-環形齒輪;43-彈性伸縮桿;44-支撐桿;45-推動板;46-出料管;47-卸料管;48-隔板;
發明名稱:一種熔融石英顆粒加工用上料裝置
摘要
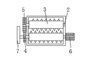
本實用新型公開了一種熔融石英顆粒加工用上料裝置,包括外筒管,所述外筒管的內壁轉動連接有兩個平行設置的轉軸,所述轉軸的外壁固定套接有粉碎輥,兩個所述轉軸的同一端分別固定連接有主動齒輪與從動齒輪,且主動齒輪與從動齒輪相互嚙合,其中一個轉軸遠離主動齒輪的一端固定連接有電機。本實用新型電機運行,帶動轉軸和與其位置對應的粉碎輥與主動齒輪轉動、主動齒輪帶動從動齒輪與其位置對應的粉碎輥轉動,與從外筒管的上端口加入石英顆粒,石英顆粒落在兩個粉碎輥上,由于主動齒輪與從動齒輪輪齒數目不同,從而使得兩個粉碎輥差速相對轉動,增加破碎齒對石英顆粒的剪切力,粉碎輥上的破碎齒將石英塊打碎,便于加熱熔融。


1-外筒管;2-轉軸;3-粉碎輥;4-主動池輪;5-從動齒輪;6-電機;7-凸輪;8-內筒管;9-第一連接桿;10-擋板;11-滑桿;12-滑槽;13-壓桿;14-空腔;15-滑塊;16-彈簧;17-第二連接桿;18-橫桿;19-豎桿;20-多組倒鉤;
資料來源
中華人民共和國國家知識產權局


















