中國粉體網訊 8月7日消息,據媒體報道,固態電池企業衛藍新能源計劃在2025年上市。
衛藍新能源創始人、首席科學家李泓近期表示,公司目標到2025年收入增長20倍,達到100億元。同時,李泓表示,衛藍新能源在最近一輪融資中估值為157億元。
衛藍新能源生產的動力電池可使車輛單次充電行駛1000公里。
【半固態電池已量產】
維科網鋰電此前曾報道,6月30日,衛藍新能源360Wh/kg鋰電池電芯交付簽約暨衛藍長三角研發中心揭牌儀式在湖州市隆重舉行。

圖片來源:衛藍新能源
衛藍新能源董事長俞會根彼時在致辭中表示,360Wh/kg鋰電池電芯正式給蔚來交付,是全行業的一個里程碑事件。
蔚來電池系統副總裁曾士哲則表示,360Wh/kg鋰電池電芯交付,對于蔚來所有車主而言,都是一個好消息,可以持續享受到電池升級帶來的紅利。
活動上,衛藍新能源常務副總向晉向蔚來高級副總裁曾澍湘正式交付360Wh/kg鋰電池電芯,并提交質保承諾書,雙方代表簽署了年度訂單。
據了解,衛藍新能源的半固態電池采用固液混動電解質,能量密度為360Wh/kg,超過寧德時代麒麟電池的255Wh/kg。該技術吸引了大眾汽車、福特汽車、吉利汽車等汽車廠商的興趣。
近日,彭博新能源財經分析師史佳彥表示,“衛藍并不是第一家成功推出商業化半固態電池的公司,但其每公斤360Wh的能量密度達到了目前商業化電動汽車電池中的最高能量密度。”
首爾KB證券分析師JamesLee則表示,鑒于固態電池的制造成本高昂,衛藍的電池在不久的將來不太可能取代大多數鋰離子電池。
李泓也承認,衛藍可能無法侵蝕像寧德時代這樣的鋰離子電池巨頭的市場份額。到2025年,衛藍的市場份額可能會“不到1%”。
【已完成8輪融資】
資料顯示,衛藍新能源成立于2016年8月,是一家專注于全固態鋰電池研發與生產、擁有系列核心專利與技術的國家高新技術企業,是中國科學院物理研究所清潔能源實驗室固態電池技術的唯一產業化平臺。
衛藍新能源聚焦高能量密度、高安全、高功率、寬溫區、長壽命的全固態電池產品據了解,目前衛藍新能源已申請國家專利400余項,授權100余項,涉及固態電池復合正極、固態電解質、隔膜和負極等核心材料和技術,形成知識產權體系。
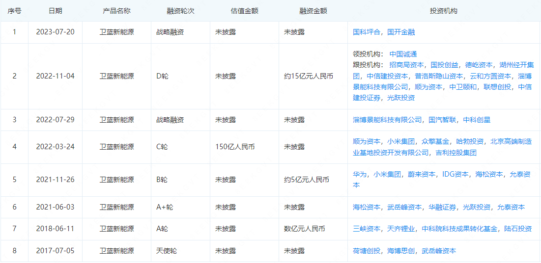
自2017年獲得天使輪投資后,衛藍新能源一共完成8輪融資,小米集團、蔚來資本、吉利控股、華為、天齊鋰業現身投資方陣容。

圖片來源:企查查
公布了融資金額的最大融資額,為2022年11月初完成的近15億元D輪融資。該輪融資領投方為中國誠通混改基金,中信建投、國投創益、招商局資本等跟投,老股東淄博景能繼續加注。
對于該次融資額,衛藍新能源計劃用于公司產線建設、研發投入中。
產能方面,截至目前,衛藍新能源擁有北京房山、江蘇溧陽、浙江湖州和山東淄博四大產業基地。應用覆蓋新能源車船、規模儲能等行業領域。
其中,在今年2月,衛藍新能源淄博100GWh固態鋰電池項目開工建設,項目總投資400億元。一期投資102億元,年產混合固液電解質電池和全固態電池20GWh。
浙江湖州方面,2021年,衛藍新能啟動了湖州基地車規級固態動力電芯產業化工程項目,同年10月開工建設。2022年6月衛藍新能湖州基地車規級固態動力電芯產業化工程項目全面建成投產,同年11月基地正式下線第一顆固態動力電芯。
在湖州基地首顆固態電芯下線當天,衛藍新能源總投資139億元的年產20GWh固態電池項目也順利在湖州簽約。
最近的7月4日,衛藍新能源湖州基地二期項目奠基儀式已在南太湖新區康山街道衛藍二期現場舉行……
產業鏈合作方面,去年8月,衛藍新能源與天齊鋰業成立合資公司天齊衛藍固鋰新材料,從事預鋰化負極材料及回收、金屬鋰負極及鋰基合金(復合)負極材料、預鋰化試劑(原材料)及預鋰化制造設備產品的研發、生產和銷售等相關業務。
同年4月,與容百科技簽訂合作協議,將容百科技作為其高鎳三元正極材料第一供應商,計劃在全/半固態電池和材料領域展開全面深度合作,同時約定2022-2025年采購不低于3萬噸的正極材料。
2021年12月,衛藍新能源還與恩捷股份、天目先導成立合資公司江蘇三合,共同合作研發并生產固態電解質涂層隔膜布局半固態電池領域。前述6月交付給蔚來汽車的360Wh/kg鋰電池電芯均采用合資公司“量身定制”的隔膜產品。
【總結】
當前,我國部分企業已進入半固態鋰離子電池量主階段,2025年前可能實現固態電池量產。
比亞迪、上汽、寧德時代、贛鋒鋰業,乃至海外的車企,如豐田、寶馬等,都瞄準了固態電池。
今年7月初,豐田公司曾在新聞發布會上表示,已經在固態電池技術上取得了重大突破,能夠將電池的重量、體積和成本減半。
寶馬最近也透露,將打造全固態電池中試生產線,2025年推出首輛原型車。
業內預計,到2030年,全球固態電池市場空間將超3000億元。
(中國粉體網編輯整理/蘇簡)
注:圖片非商業用途,存在侵權告知刪除!
















