近年來隨著超細顆粒優越的性能被不斷的肯定,越來越多的科研人員開始重視微細粉體制造的研究工作。氣流粉碎技術作為一種重要的超細粉體制備方法,目前已成為研制各種高性能微粉材料的首選方法之一。2023氣流粉碎機又有哪些研究進展?
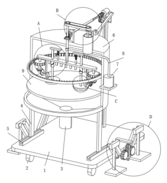
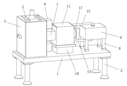
一種氣旋式氣流粉碎機及其粉碎方法
申請人:河南瀚斯作物保護有限公司
摘要:本發明實現了可對原料起到一個多向振動粉碎效果,提高了整體的粉碎效率;可對進料管內部起到一個防堵塞效果,提高了原料的下料效率;可對整個粉碎機分布實現移動和穩定放置兩種狀態,進而更便于對其進行搬運等工作。

一種超細石墨制備氣流粉碎機
申請人:南通惠港石墨科技有限公司
摘要:通過螺旋扇葉對進料斗內部的物料進行攪動和輸送,使進料斗內部的物料能夠快速順利的通過進料斗進入到輸料管內部,然后被輸料管內部的氣流帶動進入至粉碎腔內粉碎,減少物料過多堆積在進料斗內部,導致進料斗出口被堵住物料難以進行粉碎的問題,提高了粉碎的穩定性。

一種氣流粉碎機
申請人:雅安百圖高新材料股份有限公司;成都百圖高新材料科技有限公司;上海百圖高新材料科技有限公司
摘要:本發明涉及物料粉碎設備技術領域,提供一種氣流粉碎機,包括:粉碎腔體;分級輪,安裝于粉碎腔體內上部;電機,安裝于粉碎腔體外側壁且與分級輪相傳動連接;其中,粉碎腔體內中部固定設有豎向的隔離管,以將該區域分為內外的粉碎區和返回通道;粉碎區可引入超音速氣流以將進入其內部的物料粉碎為粗粉和細粉,粗粉在分級輪處向下經返回通道進入粉碎區底部再次參與粉碎,細粉經分級輪排出粉碎腔體。設置的隔離管將粉碎腔體內中部分為內外的粉碎區和返回通道,使得物料粉碎和大顆粒的粗粉下降返回是在獨立分開的兩個區域進行,減少了相互之間的氣流干擾,在局部區域能夠形成更加單一穩定的氣流,有利于控制在粉碎過程中出現的湍流、紊流等不利因素。

一種鋰電材料制備用流化床氣流粉碎分級機
申請人:湖南經源科技有限公司
摘要:本發明公開了一種鋰電材料制備用流化床氣流粉碎分級機,包括粉碎腔、給料管、視鏡、分流裝置、噴嘴裝置、分級腔、分級裝置、底腔和主機支架,粉碎腔、分級腔和底腔由上至下依次布置,給料管傾斜連接粉碎腔的側部,分流裝置包括主流管道、環形管道和多根分流管道,環形管道的底部設有多個圓孔,分流管道連接圓孔和噴嘴裝置,噴嘴裝置包括拉瓦爾噴嘴、噴嘴接管、管套、多個噴嘴套環和噴嘴安裝法蘭,拉瓦爾噴嘴的接頭上設有外螺紋,噴嘴接管的內壁上設有內螺紋,內螺紋和外螺紋相配合,多個噴嘴套環設于拉瓦爾噴嘴和噴嘴接管之間,管套設于噴嘴接管的進口處。與現有技術相比,本發明能夠實現流化床氣流粉碎機對鋰電材料的快速粉碎。

用于磷酸鐵鋰加工的氣流粉碎機
申請人:云南鴻泰博新材料股份有限公司
摘要:本發明主要用于解決物料進料速度過快,會造成物料堵塞,同時當物料相互堆積時,同樣會導致物料在送料管內堆積,影響下料。
一種氣流式氫氧化鋰粉碎機
申請人:浙江永正鋰電股份有限公司
摘要:本申請的有益之處在于可將原料均勻分配分配成多份,進入到若干個文丘里管中,且若干個文丘里管采用呈環形陣列分布在圓盤型粉碎倉上方邊沿處的設計,可為圓盤型粉碎倉內部四周均勻提供原料,避免原料送入位置單一不均的問題。

一種具有降溫保護的碳化鎢氣流粉碎機
申請人:贛州華茂鎢材料有限公司
摘要:本氣流粉碎機有非常好的降溫效果,避免粉碎物料的相互碰撞和氣流粉碎機內壁發生摩擦而產生的熱量對其造成損壞,有非常好的使用效果。

塊狀藥粉氣流粉碎裝置
申請人:上海瑄宇醫藥科技有限公司
摘要:本實用新型通過敲擊組件的設計,可以通過敲擊組件定期對過濾板進行敲擊,使得過濾板產生共振,從而使過濾板側壁附著的藥粉脫落,提高過濾板的過濾效果,同時對過濾板表面附著的藥粉清理,不需要對過濾板進行拆卸,操作簡便。

一種對撞式氣流粉碎機的引流擴散管
申請人:昆山博瑞凱粉碎設備有限公司
摘要:本實用新型中,通過設置兩個半環形引流管,并通過法蘭盤將兩個半環形引流管連接起來,使得將兩個法蘭盤拆離后,可以將半環形引流管從氣流粉碎機外殼的兩側取下,而不需要拆解氣流粉碎機外殼上下兩端的氣體結構,便于拆卸。

一種氣流粉碎機上料裝置
申請人:江西華賽新材料有限公司
摘要:本實用新型的一種氣流粉碎機上料裝置其結構簡單、方便實用,通過打散裝置將螺桿輸送機輸送過程產生的團狀物料進行打碎,使得物料投放更為均勻,避免團狀物料出現堆積的現象。
一種具有除塵功能的氣流粉碎機
申請人:蘇州多洪偉機械設備制造有限公司
摘要:本實用新型通過導熱管、回吹管、加熱器和分流管的設置,通過分流管的設置將部分壓縮空氣分流進入加熱器內,之后通過加熱器對壓縮空氣加熱,之后被加熱的壓縮空氣進入導熱管中與進料口接觸將進料口中的物料加熱,進而使物料中的水分蒸發起到干燥效果,結構簡單不會占據空間,同時通過粉碎機原本氣源作為導熱結構對物料干燥減少耗能,同時被加熱的氣源回到粉碎機內參與粉碎避免氣源浪費。

一種高效率可濕性粉劑氣流粉碎機
申請人:河北雙吉化工有限公司
摘要:本實用新型中支撐架、矩形板、矩形框、粉碎箱、高壓氣泵、矩形箱、風管、雙向螺紋桿、皮帶輪一、活動塊、連接桿和動力組件,可以對粉碎箱的內壁進行清刮,使得其內部不會殘留粉劑,且有很好的回收價值,可以有效的減少粉劑的浪費,也讓加工的成本降低,且解決了人工清理不便的問題,便于推廣使用。

一種金屬硅生產用氣流粉碎機
申請人:芒市永隆鐵合金有限公司
摘要:本實用新型所述的一種金屬硅生產用氣流粉碎機,通過下料管內部的分離篩能夠實現對金屬硅碎料的分離,能夠有效減少人工分離時所浪費的時間與精力成本,有利于工作人員使用。

一種鋰離子電池負極材料氣流粉碎機
申請人:蘇州多洪偉機械設備制造有限公司
摘要:本實用新型通過電機、轉桿、第一皮帶輪,第二皮帶輪、轉輪和轉動機構,通過電機的旋轉可使得轉桿帶動第一皮帶輪進行轉動,同時通過電機的轉動帶動多組被動齒輪進行轉動,通過被動齒輪的轉動。

一種氣流粉碎機
申請人:三一技術裝備有限公司
摘要:氣流粉碎機,包括粉碎腔,粉碎腔上設置有:第一物料噴嘴和第一氣流噴嘴;組合噴嘴,包括噴嘴主體,噴嘴主體上形成有第二氣流噴嘴和第二物料噴嘴,第二物料噴嘴和第二氣流噴嘴相套設,或,沿靠近噴口的方向,第二氣流噴嘴和第二物料噴嘴相靠攏。該粉碎機可以同批次粉碎硬度不同的物料,第一物料噴嘴和第一氣流噴嘴,用來粉碎硬度較小的物料,組合噴嘴用于粉碎硬度較大的物料,且由于組合噴嘴使物料加速噴出而劇烈撞擊,提高了粉碎效果、縮短了粉碎時長,則硬度不同的物料在同一粉碎腔內,都能快速地進行良好粉碎,并進行良好的碎后混合,顯著提高了多物料的粉碎混合效率。

一種碳酸鋰氣流粉碎機構
申請人:江西輝騰新能源有限公司
摘要:本實用新型公開了一種碳酸鋰氣流粉碎機構,包括氣流粉碎罐,所述氣流粉碎罐上設置有進氣管,所述氣流粉碎罐上通過排氣管連通有過濾箱,所述過濾箱的內部設置有過濾組件,所述過濾組件對排氣管中氣體進行過濾;所述氣流粉碎罐上設置有儲氣組件,所述儲氣組件與過濾箱之間連通有第一單向管,所述儲氣組件與進氣管之間連通有第二單向管,以使得過濾箱中過濾后的氣體進入進氣管中循環使用。通過過濾箱內部的過濾組件可以對排氣管中的氣體進行過濾,從而可以減小氣體中碳酸鋰粉的含量,并且通過第一單向管、儲氣罐和第二單向管可以將過濾后的氣體導入至進氣管中,便于氣流粉碎罐循環重復供氣,可以有效的減少氣流粉碎罐對外部氣體的消耗量。

用于無機顏料生產的氣流粉碎機
申請人:南京匯彩納米新材料有限公司
摘要:本申請涉及一種用于無機顏料生產的氣流粉碎機,其涉及氣流粉碎機領域,其包括進氣室、粉碎室以及分級室,進氣室與分級室分別與粉碎室連通,粉碎室上設有加料管,加料管內設有用于研磨顏料的研磨組件,粉碎室上設有安裝塊,安裝塊上設有用于破碎顏料的破碎組件。本申請具有利用研磨齒輪、破碎環以及破碎板提高粉碎效果的效果。
一種高精度高效氣流粉碎機
申請人:江蘇宏基高新材料股份有限公司
摘要:本實用新型所述的高精度高效氣流粉碎機,利用旋轉的刀片進行切割和預粉碎,提升粉碎的效率,避免較大的粗粉進入分級筒,提升了粉碎精度。

一種進料結構及扁平式氣流粉碎機
申請人:東貴精密機械(無錫)有限公司
摘要:本實用新型涉及粉碎機進料技術領域,具體公開了一種進料結構及扁平式氣流粉碎機,包括:粉碎機主體側面設置有進料管,進料管表面設置有定量管,定量管表面設置有儲料管,儲料管內設置有拉桿,拉桿一端設置有密封蓋;有益效果為:本實用新型提出的一種進料結構及扁平式氣流粉碎機,使用時當需要對粉碎機主體內部進行加料時,拉動拉桿時密封蓋向上提起,這樣就可使儲料罐內的物料流入定量管內,當流入到合適的量后在送開拉桿時密封蓋封堵住儲料罐,然后打開開關閥就可將定量管內的物料流入進行粉碎機主體內,簡單方便,這樣避免了傳統的粉碎機主體主要利用漏斗式的進料斗進行進料,缺少定量裝置,無法控制加入的物料量的問題。

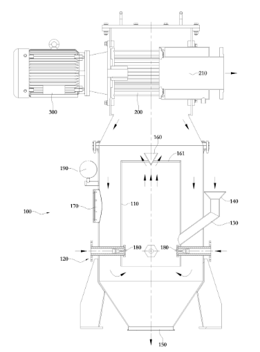
一種高效粉碎的流化床式氣流粉碎機
申請人:廣東金晟新能源股份有限公司
摘要:技術要點包括機殼,在機殼內頂部設有分級輪和對應的出料口,所述機殼底部為半球形;所述機殼外側設有供氣環管,在供氣環管上設有導通至機殼內部的高壓氣嘴組,在機殼底部中心設有豎直朝上的回料氣嘴;在機殼內部設有集料導向罩,所述集料導向罩上端設有出料孔,所述出料孔的直徑小于分級輪內腔入口的直徑;所述集料導向罩內部為粉碎區,集料導向罩與機殼內壁之間為回料區;本實用新型旨在提供一種結構簡單,便于粗粉再次破碎的高效粉碎的流化床式氣流粉碎機;用于磷酸鐵鋰正極材料生產過程中對燒結的物料進行粉碎。

一種結晶二氧化硅加工用氣流粉碎系統及方法
申請人:蚌埠壹石通電子通信材料有限公司
摘要:本發明公開了一種結晶二氧化硅加工用氣流粉碎系統及方法,包括氣流粉碎機、初級分級組件、二級分級組件和兩個旋風分離器,氣流粉碎機連通初級分級組件,初級分級組件包括固定倉、調換柱和多個分級輪,固定倉具有安裝腔和排放通道,調換柱可軸向旋轉地安裝在安裝腔內,調換柱包括圓柱主件和調節桿,圓柱主件具有多個圓周對稱設置的放置腔,每個放置腔內可豎直放置一個分級輪,分級輪由驅動電機帶動而可進行軸向旋轉,二級分級組件包括兩塊夾板、旋轉篩板和回吹電機,夾板對接安裝而形成分級腔,旋轉篩板安裝在分級腔內,每個夾板上對稱安裝有兩個貫通管,貫通管分別與初級分級組件、回吹電機以及旋風分離器連通。

一種膠粘劑生產線用氣流粉碎機
申請人:江西新前沿科技有限公司
摘要:本發明公開了一種膠粘劑生產線用氣流粉碎機,包括進出料裝置,進出料裝置包括電機、碰撞桿、入料管、第三導向板和第二轉環,可以控制原料的進入,還可以調節初步粉碎后的顆粒大小;調節裝置包括第一導向板、第二導向板和第一轉環,可以調節初步粉碎時的粉碎效率;排出裝置包括第二外殼、第四導向板、第三外殼、第六導向板和第二噴嘴,可以對原料進行集中粉碎并便于排出粉碎后的原料。

一種流化床式氣流粉碎機
申請人:青島中東石墨有限公司
摘要:一種流化床式氣流粉碎機解決了現有的氣流粉碎機無法對進料量進行調節,無法根據進料的種類的不同調整計量箱的輸送量,使用適用性不佳的問題,提高了計量箱輸送量的調節便捷性,從而提高了計量箱的使用適用性。

一種螺旋氣流粉碎機
申請人:精華制藥集團南通有限公司
摘要:螺旋氣流粉碎機,包括粉碎筒,所述粉碎筒的底端固定安裝有分類筒,所述分類筒側端部的上段滑動安裝有第一濾板,位于第一濾板上方所述分類筒的側端部固定安裝有兩個固定塊。本實用新型通過轉動出料箱,讓出料箱帶動轉盤在第三凹槽的內部旋轉,通過轉盤的旋轉,讓固定孔的內側壁對伸縮桿的頂端繼續擠壓,讓伸縮桿向下滑動收縮,通過讓伸縮桿的頂端與轉盤保持一個水平面,保證出料箱可以向任意方向轉動,當出料箱停止轉動后,伸縮桿通過收縮將頂端插入固定孔的內部,通過伸縮桿對出料箱轉動的角度進行固定,通過轉盤可以對出料箱的排料方向進行改變,增加使用的便利性。
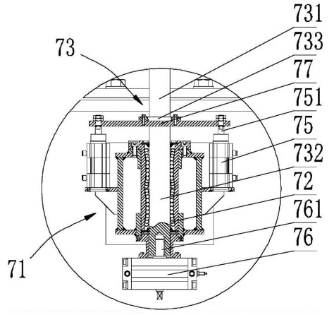
一種具有分級功能的氣流粉碎機
申請人:昆山強迪粉碎設備有限公司
摘要:本實用新型公開了一種具有分級功能的氣流粉碎機,涉及氣流粉碎機技術領域,包括安裝機架,所述安裝機架上端從左到右依次安裝有安裝座、空氣壓縮機、分級箱和粉碎盤,所述安裝座上端安裝有螺旋輸送機,所述螺旋輸送機的進料口安裝有料斗,所述螺旋輸送機的出料口與分級箱相通,所述分級箱上端設置有分級機構,所述分級機構延伸至分級箱內部,所述空氣壓縮機輸出端安裝有加速管,所述加速管另一端與粉碎盤相通,所述粉碎盤上端安裝有引風機。本實用新型通過設置分級機構配合分級箱實現原料的預分級,有效避免粒度過大的原料顆粒進入粉碎盤,提高了粉碎效率,通過設置清潔刀頭增大破碎刀與篩網的接觸面積,還可清除粘附在篩孔中的原料顆粒。

流化床式氣流粉碎機
申請人:貝特瑞(天津)納米材料制造有限公司
摘要:本實用新型提供的流化床式氣流粉碎機,包括:空壓機、料倉、粉碎室、分級室、除塵室、收集器、除塵風機及用于連接各部件的管道,所述分級室位于所述料倉與所述粉碎室之間,所述料倉中的物料經所述分級室,粒度不符合要求的物料直接進入所述粉碎室進行粉碎,粉碎后的物料被上升氣流輸送回所述分級室,粒度符合要求的合格細粉與微細粉塵一起從所述管道進入所述除塵室,所述合格細粉在所述除塵室除塵后進入所述除塵室下方的所述收集器,微細粉塵在所述除塵室被收集,所述空壓機射出的氣流通過所述管道進入所述粉碎室和所述分級室,再從所述分級室流出通過所述管道進入所述除塵室,再從所述除塵室上方流出后經過所述除塵風機凈化后排出。
一種大型流化床式氣流粉碎機
申請人:蘇州金遠勝智能裝備股份有限公司
摘要:本實用新型提供的大型流化床式氣流粉碎機,包括機座、筒體、配氣盤、電機、出料器、頂蓋、快拆機構,頂蓋罩設在筒體上部的分級筒頂部,其邊緣通過鎖緊螺栓與分級筒連接,快拆機構連接頂蓋中部和分級筒外壁,其包括連接在分級筒外壁上的基座、設于基座內的直線軸承、可升降且可轉動地穿設在直線軸承內的頂桿、用于連接頂桿和頂蓋的連接板,以及連接在基座上的升降氣缸和旋轉氣缸,通過使頂桿中部與升降氣缸的氣缸桿相連接,使頂桿下端部可上下移動地套設在旋轉氣缸的旋轉軸上,在拆下鎖緊螺栓后,能夠通過升降氣缸動作,使頂桿向上頂起頂蓋,再通過旋轉氣缸動作,即可帶動頂桿轉動,使頂蓋從分級筒的頂部移開,頂蓋拆卸方便、拆卸過程安全性好。

信息來源:國家知識產權局、中國專利信息中心
(中國粉體網編輯整理/黑金)
注:圖片非商業用途,存在侵權告知刪除!
















