中國粉體網訊
國機金剛石:《熱沉用金剛石片》團體標準成功立項!
近日,中國電子材料行業協會組織的《熱沉用金剛石片》團體標準立項評審會在鄭州召開,由國機金剛石主導的《熱沉用金剛石片》團體標準成功立項。該標準標準技術內容達到國內領先水平,填補行業標準空白,引領行業高質量發展。

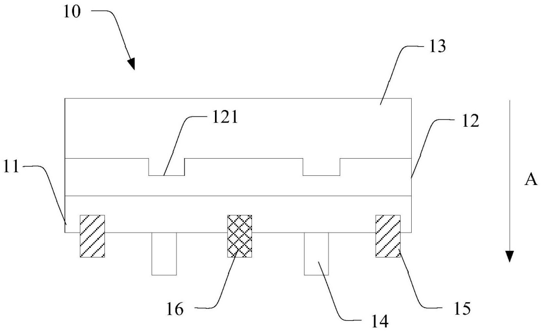
華為持續發力,金剛石散熱新突破!
12月3日,華為技術有限公司公布一項名為“一種半導體器件及其制作方法、集成電路、電子設備”的發明專利。在該半導體器件中增加金剛石散熱層與鈍化層的接觸面積,改善金剛石散熱層與鈍化層之間的結合力,并且通過減小金剛石散熱層與柵極之間的熱擴散距離,提高半導體器件的散熱效率。

10-半導體器件、11-第一外延層、12-鈍化層、13-金剛石散熱層、
14-柵極、15-源極、16-漏極、121-凹槽
1.21億美元!金剛石冷卻顛覆GPU散熱
近期,美國商務部與Akash Systems公司簽署了一份不具約束力的初步條款備忘錄(PMT)。此項資金加上Akash、風險投資公司和其他私人投資者的資金,將達到合計1.21億美元的投資。通過這項投資,政府將幫助Akash公司建造一個半導體制造工廠,以大規模制造各種金剛石冷卻基板、設備和系統。

又一金剛石企業獲千萬元融資!
近期,南京瑞為新材料科技有限公司(以下簡稱“瑞為新材”)宣布完成數千萬元A+輪融資。本輪融資由毅達資本領投,南京市創新投資集團跟投,資金將用于金剛石系銅/鋁系列熱沉產線擴廠。

英國研制出首款碳-14金剛石電池,可運行千年不更換
英國原子能管理局4日宣布,英國原子能管理局 (UKAEA) 和布里斯托大學的科學家和工程師宣布成功制造出世界上第一塊碳-14金剛石電池。這種新電池技術由于使用了放射性同位素碳-14,可以提供數千年的可靠電源。這一突破有可能徹底改變從醫療設備到太空探索的一系列應用。

金剛石存數據?中國科學家新突破!
中國科學技術大學中國科學院微觀磁共振重點實驗室杜江峰、王亞、夏慷蔚等人在光學信息存儲領域取得重要進展,提出并發展基于金剛石發光點缺陷的四維信息存儲技術,有望為“數據大爆炸”信息時代所亟需的新一代綠色高容量信息存儲提供解決方案。

近期政策
12月3日起實施!加強超硬材料等相關兩用物項對美國出口
根據《中華人民共和國出口管制法》等法律法規有關規定,決定加強相關兩用物項對美國出口管制。
一、禁止兩用物項對美國軍事用戶或軍事用途出口。
二、原則上不予許可鎵、鍺、銻、超硬材料相關兩用物項對美國出口;對石墨兩用物項對美國出口,實施更嚴格的最終用戶和最終用途審查。

12月1日起實施!金剛石砂輪出口退稅率下調至9%
近期,財政部、稅務總局下發2024年第15號公告《關于調整出口退稅政策的公告》。其中,粘聚合成或天然金剛石制的砂輪、粘聚合成或天然金剛石制的其他石磨、石碾及類似品等磨具產品出口退稅率由13%下調至9%,降幅超過三成。該公告自2024年12月1日起實施。

涉及金剛石材料!四部門聯合發布出口管制清單
近期,商務部、工業和信息化部、海關總署、國家密碼局聯合發布關于《中華人民共和國兩用物項出口管制清單》的公告。六面頂壓機專用關鍵零部件、金剛石窗口材料、用六面頂壓機合成人造金剛石單晶或立方氮化硼單晶的工藝技術等金剛石材料產品、設備及技術被列入出口管制清單。

參考來源:
中國電子材料網,中國粉體網,國家知識產權局,南京瑞為新材官網,毅達資本,U.S. Department of Commerce,Akash Systems官網,中國核技術網,布里斯托大學官網,中國科學技術大學官網,財政部,商務部
(中國粉體網編輯整理/輕言)
注:圖片非商業用途,存在侵權告知刪除!




















