中國粉體網訊 據國家知識產權局信息顯示,華為技術有限公司公布一項名為“一種半導體器件及其制作方法、集成電路、電子設備”的發明專利。申請公布號CN119069436A,申請日期為2023年5月。
該專利提供了一種半導體器件及其制作方法、集成電路、電子設備,增加金剛石散熱層與鈍化層的接觸面積,改善金剛石散熱層與鈍化層之間的結合力,并且通過減小金剛石散熱層與柵極之間的熱擴散距離,提高半導體器件的散熱效率。

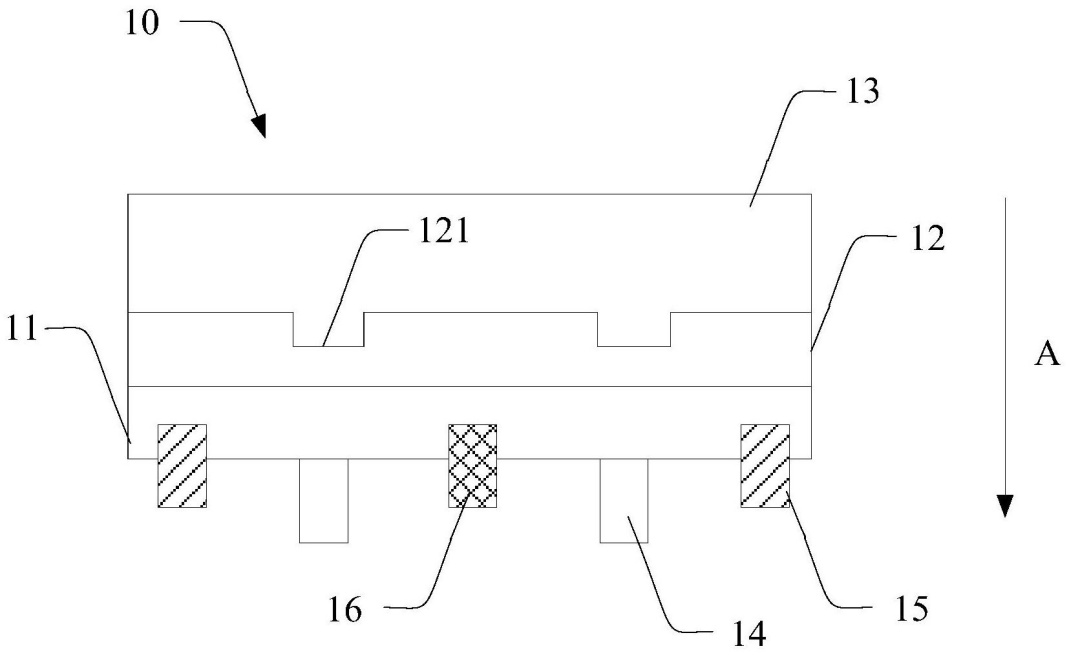
10-半導體器件、11-第一外延層、12-鈍化層、13-金剛石散熱層、14-柵極、15-源極、16-漏極、121-凹槽
該半導體器件可以包括第一外延層、鈍化層和金剛石散熱層。其中,鈍化層位于第一外延層和金剛石散熱層之間。第一外延層背離鈍化層的一側設置有柵極。鈍化層朝向金剛石散熱層的一側表面設置有凹槽。沿半導體器件的厚度方向,凹槽在第一外延層上的投影覆蓋柵極的至少部分。金剛石散熱層可覆蓋鈍化層并且填充凹槽。
其中,鈍化層的凹槽結構可以增加金剛石散熱層與鈍化層之間的接觸面積,從而增加金剛石散熱層與鈍化層之間的結合力。隨著半導體器件的工作時間越長,半導體器件會不斷發熱,其中,柵極區域產生的熱量較多。凹槽可以減小柵極與金剛石散熱層之間沿半導體器件的厚度方向的距離,從而可以減小柵極與金剛石散熱層之間的熱擴散距離,并且金剛石散熱層在凹槽內的傳熱面積較大,可減小金剛石散熱層的熱阻 ,進而可提高半導體器件的散熱效率。
近年來,華為在金剛石散熱這一領域持續發力,不斷斬獲重要成果,取得了顯著的進展。
2023年3月,華為用于芯片散熱的兩項復合導熱材料專利公布。專利說明書顯示,兩項專利以不同的技術方案獲取芯片散熱的復合導熱材料,其中一個技術方案以鐵磁性顆粒材料作為導熱填料;另一個技術方案則以金剛石顆粒材料為主要散熱材料。兩個技術方案經實驗驗證,較傳統硅脂等界面導熱材料的導熱性能,有大幅度的提升,可廣泛適用于手機、電腦、服務器等電子設備。
2023年11月,華為和哈爾濱工業大學聯合申請的“一種基于硅和金剛石的三維集成芯片的混合鍵合方法”專利公開。這一技術的突破之處在于,它成功地將硅和金剛石這兩種性質迥異的材料結合在一起,開創了芯片制造領域的新思路。
2024年2月,華為技術團隊與廈門大學于大全、鐘毅老師團隊、廈門云天團隊合作,在先進封裝玻璃轉接板集成芯片-金剛石散熱技術領域取得突破性進展。該研究將金剛石低溫鍵合與玻璃轉接板技術相結合,首次實現了將多晶金剛石襯底集成到玻璃轉接板封裝芯片的背面。該技術路線符合電子設備尺寸小型化、重量輕量化的發展趨勢,同時與現有散熱方案有效兼容,成為當前實現芯片高效散熱的重要突破路徑,并推動了金剛石散熱襯底在先進封裝芯片集成的產業化發展。
隨著半導體芯片向更高密度、更多功能、更大功率和智能化的方向發展,金剛石將在半導體散熱領域發揮越來越重要的作用,為手機、電腦等產品的散熱問題提供更為高效的解決方案。
參考來源:國家知識產權局,專利申請說明書,中國粉體網、磨料磨具以及網絡公開信息等
(中國粉體網編輯整理/輕言)
注:圖片非商業用途,存在侵權告知刪除!

















