
上海依肯機械設備有限公司
金牌會員
已認證

上海依肯機械設備有限公司
金牌會員
已認證
膠體磨原理結構應用及影響因素
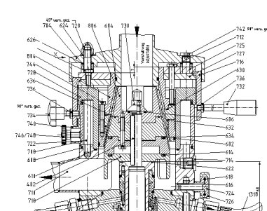
膠體磨是由電動機通過皮帶傳動帶動轉齒(或稱為轉子)與相配的定齒(或稱為定子)作相對的高速旋轉,被加工物料通過本身的重量或外部壓力(可由泵產生)加壓產生向下的螺旋沖擊力,透過膠體磨定、轉齒之間的間隙(間隙可調)時受到強大的剪切力、摩擦力、高頻振動等物理作用,使物料被有效地乳化、分散和粉碎,達到物料超細粉碎及乳化的效果。
膠體磨由1-3個工作腔組成,在馬達的高速驅動下,物料在轉子與定子之間的狹窄間隙中高速運動,形成紊流,物料受到更強液力剪切、離心擠壓、高速切割、撞擊和研磨等綜合作用,從而達到分散、乳化、破碎的效果。被加工物料本身和物理性質和工作腔的數量以及控制物料在工作腔中停留的時間決定了粒徑分布范圍及均化、細化的效果和產量的大小。
膠體磨的細化作用一般來說要弱于均質機,但它對物料的適應能力較強(如高粘度、大顆粒),所以在很多場合下,它用于均質機的前道或者用于高粘度的場合。在固態物質較多時也常常使用膠體磨進行細化。
CM2000系列是專門為膠體溶液生產所設計,特別是那些需要很好乳化和分散效果的膠體生產。CM2000的線速度很高,剪切間隙非常小,這樣當物料經過的時候,形成的摩擦力就比較劇烈,結果就是通常所說的濕磨。定轉子被制成圓椎形,具有精細度遞升的三級鋸齒突起和凹槽。定子可以無限制的被調整到所需要的與轉子之間的距離。在增強的流體湍流下,凹槽在每級都可以改變方向。高質量的表面拋光和結構材料,可以滿足不同行業的多種要求。

影響研磨粉碎結果的因素有以下幾點
2 膠體磨磨頭頭的剪切速率 (越大,效果越好)
3 膠體磨頭的齒形結構(分為初齒,中齒,細齒,超細齒,約細齒效果越好)
4 物料在研磨腔體的停留時間,研磨粉碎時間(可以看作同等的電機,流量越小,效果越好)
5 循環次數(越多,效果越好,到設備的期限,就不能再好)
線速度的計算
剪切速率的定義是兩表面之間液體層的相對速率。
剪切速率 (s-1) = v 速率 (m/s)
g 定-轉子 間距 (m)
由上可知,剪切速率取決于以下因素:
轉子的線速率在這種請況下兩表面間的距離為轉子-定子 間距。
IKN 定-轉子的間距范圍為 0.2 ~ 0.4 mm
速率V= 3.14 X D(轉子直徑)X 轉速 RPM / 60
型號簡介:
1. CM2000膠體磨
立式分體結構,單級定轉子。轉速最高可達9000轉。獨立機械密封冷卻鎖壓系統。
三級錯齒結構的研磨轉子,配合精密的定子腔。此款立式膠體磨比普通的臥式膠體磨的速度達到3倍以上,最小的轉速可以達到14000RPM。所以可以達到更好的分散濕磨效果。
膠體磨選配容器:本設備適合于各種不同大小的容器
膠體磨 | 流量* | 輸出 | 線速度 | 功率 | 入口/出口連接 |
類型 | l/h | rpm | m/s | kW | |
700 | 9,000 | 23 | 2.2 | DN25/DN15 | |
CM 2000/5 | 3,000 | 6,000 | 23 | 7.5 | DN40/DN32 |
CM 2000/10 | 8,000 | 4,200 | 23 | 22 | DN50/DN50 |
CM 2000/20 | 20,000 | 2,850 | 23 | 37 | DN80/DN65 |
CM 2000/30 | 40,000 | 1,420 | 23 | 55 | DN150/DN125 |
CM 2000/50 | 80,000 | 1,100 | 23 | 110 | DN200/DN150 |
*流量取決于設置的間隙和被處理物料的特性,同時流量可以被調節到最大允許量的10%。 | |||||
1 表中上限處理量是指介質為“水”的測定數據。
2.CMO 高剪剪切膠體磨
CM02000系列錐體磨(膠體磨)
錐體磨(膠體磨)工作原理:錐體磨(膠體磨)是由電動機通過皮帶傳動帶動轉齒(或稱為轉子)與相配的定齒(或稱為定子)作相對的高速旋轉,被加工物料通過本身的重量或外部壓力(可由泵產生)加壓產生向下的螺旋沖擊力,透過錐體磨(膠體磨)定、轉齒之間的間隙(間隙可調)時受到強大的剪切力、摩擦力、高頻振動等物理作用,使物料被有效地乳化、分散和粉碎,達到物料超細粉碎及乳化的效果。
上海依肯機械設備有限公司另外一項獨特的創新,就是CMO2000系列錐體磨(膠體磨),它的設計使其功能在原有的CM2000系列膠體磨的基礎上又進了一步。由于這項創新,CMO2000系列錐體磨(膠體磨)能夠濕磨和研磨,產生的顆粒粒徑甚至比膠體磨CM2000還小。錐體磨(膠體磨)的研磨間隙可以無級調節,從而可以得到精確的研磨參數。
錐體磨(膠體磨)的研磨頭的表面涂上了一層極其堅硬的硬質材料,從而使其表面具有非常粗糙的紋理。這種硬質材料是由碳化物、陶瓷等高質量物質構成,如碳化鎢鈷膠體磨,陶瓷膠體磨,氧化鋯陶瓷膠體磨等等特制的膠體磨.并且具有不同的粒徑。研磨頭處形成了一個具有強烈剪切的區域,可以輸送高粘度和低粘度物料,但它的分散效果和最后的粒徑大小都比膠體磨CM的效果更加理想。
膠體磨(錐體磨)應用領域:
食品工業:蘆薈、菠蘿、芝麻、果茶、冰淇淋、月餅餡、奶油、果醬、果汁、大豆、豆醬、豆沙、花生奶、蛋白奶、豆奶、乳制品,麥乳精、香精、各種飲料等。
化學工業:油漆、顏料、染料、涂料、潤滑油、潤滑脂、柴油、電池漿料、乳化瀝青、膠粘劑、洗滌劑、塑料、玻璃鋼、皮革、電子漿料等。
日用化工:牙膏、洗滌劑、洗發精、鞋油、高級化妝品、沐浴精、肥皂、香脂等。
醫藥工業:各型糖漿、營養液、中成藥、膏狀藥劑、生物制品、魚肝油、花粉、蜂皇漿、疫苗、各種藥膏、各種口服液、針劑、靜滴液等。
建筑工業:各種涂料。包括內外墻涂料、防腐防水涂料、冷瓷涂料、多彩涂料、陶瓷釉料等。
3 中試型膠
CM2000/4 (PP2000/4)功率2.2-4 KW轉速0-14000rpm線速度0-40m/s尺寸(長X寬X高)(450X250X350)mm重量45操作條件0-16bar 中試型是由電動機通過皮帶傳動帶動轉齒(或稱為轉子)與相配的定齒(或稱為定子)作相對的高速旋轉,被加工物料通過本身的重量或外部壓力(可由泵產生)加壓產生 向下的螺旋沖擊力,透過中試型膠體磨定、轉齒之間的間隙(間隙可調)時受到強大的剪切力、摩擦力、高頻振動等物理作用,使物料被有效地乳化、分散和粉碎,達到物料超細粉碎及乳化的效果。 中試型膠體磨的細化作用一般來說要弱于均質機,但它對物料的適應能力較強(如高粘度、大顆粒),所以在很多場合下,它用于均質機的前道或者用于高粘度的場合。在固態物質較多時也常常使用膠體磨進行細化。物料粘度或固含量高導致不能正常進料和輸送時,須選用壓力或輸送泵進料或送料,輸送泵的壓力和流量與被選機型相匹配。 公司另外一項獨特的創新,就是CMO2000系列,它的設計使其功能在原有的CM2000的基礎上又進了一步。由于這項創新,CMO2000能夠濕磨和研磨,產生的顆粒粒徑甚至比膠體磨CM2000還小。研磨間隙可以無級調節,從而可以得到精確的研磨參數。 研磨頭的表面涂上了一層極其堅硬的硬質材料,從而使其表面具有非常粗糙的紋理。這種硬質材料是由碳化物、陶瓷等高質量物質構成,并且具有不同的粒徑。研磨頭處形成了一個具有強烈剪切的區域,可以輸送高粘度和低粘度物料,但它的分散效果和最后的粒徑大小都比膠體磨CM的效果更加理想。 它們的主要區別
CM2000/4(LP系列)為實驗室膠體磨的技術參數:功率1.5-2.2KW,轉速0-14000rpm,線速度 0-40m/s,電壓380V,機器產量為 0– 700 升/小時(水),重量35KG,尺寸 (長寬高)(450X250X350)MM,LP使用軸封(PTFE 環),在正常的情況下,一般軸封可以使用3000-4000次。LP不能24小時連續使用,一般最多可以使用連續半個小時,這要依據料液的溫度和轉速而定。LP也可以通過變換模塊,可以實現多功能多用途。是實驗室生產的最佳選擇。 CM2000/4(PP系列)為中試型膠體磨的技術參數:功率2.2-4KW,轉速0-14000rpm,線速度 0-40m/s,電壓380V,機器產量為 0– 700 升/小時(水),重量45KG, 尺寸 (長寬高)((450X250X350)MM,PP使用雙機械密封,可24小時不停機連續生產,并通冷媒對密封部分進行冷卻。通過變換模塊,可以實現多功能多用途。此款中試型膠體磨比普通的膠體磨的速度達到4-5倍以上,研磨效果非常好,最高轉速可以達到14000RPM。機械密封和機械設計符合3A健康標準,是中試和小批量生產的最佳選擇。 |
4.CMS2000系列高速膠體磨
高速膠體磨工作原理:超高膠體磨是由電動機通過皮帶傳動帶動轉齒(或稱為轉子)與相配的定齒(或稱為定子)作相對的高速旋轉,被加工物料通過本身的重量或外部壓力(可由泵產生)加壓產生向下的螺旋沖擊力,透過膠體磨定、轉齒之間的間隙(間隙可調)時受到強大的剪切力、摩擦力、高頻振動等物理作用,使物料被有效地乳化、分散和粉碎,達到物料超細粉碎及乳化的效果。
根據一些行業的特殊要求, IKN 在CM2000系列膠體磨的基礎上又開發了一款CMS2000高速膠體磨,轉子的線速度可以達到40M/S。研磨分散效果更好,研磨粒徑分布更小。
超高速膠體磨的細化作用一般來說要強于均質機,但它對物料的適應能力較強(如高粘度、大顆粒),所以在很多場合下,它用于高粘度的場合。在固態物質較多時也常常使用膠體磨進行細化。
CMS2000的線速度很高,剪切間隙非常小,這樣當物料經過的時候,形成的摩擦力就比較劇烈,結果就是通常所說的濕磨。定轉子被制成圓椎形,具有精細度遞升的三級鋸齒突起和凹槽。定子可以無限制的被調整到所需要的與轉子之間的距離。在增強的流體湍流下,凹槽在每級都可以改變方向。高質量的表面拋光和結構材料,可以滿足不同行業的多種要求。
三級錯齒結構的研磨轉子,配合精密的定子腔。此款高速膠體磨比普通的臥式膠體磨的速度達到3倍以上,最小的轉速可以達到14000RPM。所以可以達到更好的分散濕磨效果。
設備等級:化工級、衛生I級、衛生II級、無菌級
電機形式:普通馬達、變頻調速馬達、防爆馬達、變頻防爆馬達、
電源選擇: 380V/50HZ、220V/60HZ、440V/50HZ
電機選配件: PTC 熱保護、降噪型
超高速膠體磨材質:SUS304 、SUS316L 、SUS316Ti
超高速膠體磨選配:儲液罐、排污閥、變頻器、電控箱、移動小車
超高速膠體磨表面處理:拋光、耐磨處理
進出口聯結形式:法蘭、螺口、夾箍
膠體磨選配容器:本設備適合于各種不同大小的容器
高速膠體磨 | 流量* | 輸出 | 線速度 | 功率 | 入口/出口連接 |
類型 | l/h | rpm | m/s | kW | |
700 | 14000 | 40 | 2.2 | DN25/DN15 | |
CMS 2000/5 | 5,000 | 10,500 | 40 | 7.5 | DN40/DN32 |
CMS 2000/10 | 10,000 | 7,300 | 40 | 22 | DN50/DN50 |
CMS 2000/20 | 30,000 | 4,900 | 40 | 37 | DN80/DN65 |
CMS 2000/30 | 60,000 | 2,850 | 40 | 75 | DN150/DN125 |
CMS 2000/50 | 100000 | 2,000 | 40 | 160 | DN200/DN150 |
*流量取決于設置的間隙和被處理物料的特性,同時流量可以被調節到最大允許量的10%。 | |||||
1 表中上限處理量是指介質為“水”的測定數據。
2 處理量取決于物料的粘度,稠度和最終產品的要求。
3 如高溫,高壓,易燃易爆,腐蝕性等工況,必須提供準確的參數,以便選型和定制。
5.CMC2000系列陶瓷膠體磨
陶瓷膠體磨由電動機通過皮帶傳動帶動轉齒(或稱為轉子)與相配的定齒(或稱為定子)作相對的高速旋轉,被加工物料通過本身的重量或外部壓力加壓產生向下的螺旋沖擊力,透過陶瓷膠體磨定、轉齒之間的間隙(間隙可調)時受到強大的剪切力、摩擦力、高頻振動等物理作用,使物料被有效地乳化、分散和粉碎,達到物料超細粉碎及乳化的效果。
上海依肯機械設備有限公司另外一項獨特的創新,就是CMC2000系列陶瓷膠體磨,它的設計使其功能在原有的CMC2000系列膠體磨的基礎上又進了一步。由于這項CMC2000系列陶瓷膠體磨能夠濕磨和研磨,產生的顆粒粒徑甚至比膠體磨CM2000還小。高速陶瓷膠體磨的研磨間隙可以無級調節,從而可以得到精確的研磨參數。
陶瓷膠體磨是由二組陶瓷轉子,二組陶瓷定子組成,在陶瓷膠體磨泵腔內部轉子高速旋轉,使陶瓷轉子甩出,緊貼陶瓷定子,產生強勁的動能能快速地將粉體分散到液體中,高效、快速、均勻地將一個相或多個相分布到另一個連續的相中,通常物料中的各個相是互不相溶的。陶瓷膠體磨使物料在定轉子之間微小的空隙中受到剪切、離心擠壓、撞擊、研磨、高頻振蕩等綜合作用,使物料經過研磨后細度大大提高,再通過適量的添加劑共同作用,使產品快速、均勻、分散、乳化,研磨,避免了原金屬膠體磨磨損后效果差缺點,效能比原來有膠體磨提高3倍以上,陶瓷膠體磨特別是對金屬污染要求特別高的企業,如電子和電池行業,可以達到更高品質產品。
陶瓷膠體磨的工藝應用
鋰電池正負極漿料的超細分散
電路板基材漿料粉液超細分散
高粘度物料粉液超細混合分散
納米材料團聚物超細解聚分散
陶瓷膠體磨應用領域:
電子電池:鋰電池正極漿料、鋰電池負極漿料、電路板基材漿料
納米材料:超細碳酸鈣、白炭黑等納米材料解聚、納米粉體應用固-液分散
精細化工:熱熔膠、密封膠、膠水、絮凝劑、表面活性劑
生物醫藥:藥膏、軟膏、霜劑、注射劑、微膠囊乳劑、填充劑分散
陶瓷膠體磨 | 流量 | 輸出 | 線速度 | 功率 | 入口/輸出連接 |
類型 | l/h | rpm | m/s | kW | |
50 | 9,000 | 23 | 2.2 | DN25/DN15 | |
CMC 2000/5 | 200 | 6,000 | 23 | 7.5 | DN40/DN32 |
CMC 2000/10 | 500 | 4,200 | 23 | 22 | DN50/DN50 |
CMC 2000/20 | 1500 | 2,850 | 23 | 37 | DN80/DN65 |
CMC 2000/30 | 3000 | 1,420 | 23 | 55 | DN150/DN125 |
CMC 2000/50 | 6000 | 1,100 | 23 | 110 | DN200/DN150 |
流量取決于設置的間隙和被處理物料的特性,可以被調節到最大允許量的10%。 | |||||
1 表中上限處理量是指介質為“水”的測定數據。
2 處理量取決于物料的粘度,稠度和最終產品的要求。
3 如高溫,高壓,易燃易爆,腐蝕性等工況,必須提供準確的參數,以便選型和定制。
相關產品
更多
相關文章
更多
技術文章
2025-04-07技術文章
2025-03-07技術文章
2025-02-18技術文章
2025-02-06
虛擬號將在 秒后失效
使用微信掃碼撥號